点击蓝字 关注我们


特种设备的定义
特种设备的生产(包括设计、制造、安装、改造、修理)、经营、使用、检验、检测和特种设备安全的监督管理,适用本法。
本法所称特种设备,是指对人身和财产安全有较大危险性的锅炉、压力容器(含气瓶)、压力管道、电梯、起重机械、客运索道、大型游乐设施、场(厂)内专用机动车辆,以及法律、行政法规规定适用本法的其他特种设备。
国家对特种设备实行目录管理。特种设备目录由国务院负责特种设备安全监督管理的部门制定,报国务院批准后执行。
锅炉的分类及基本构成
承压蒸汽锅炉(电站锅炉)
承压蒸汽锅炉(卧式)
承压蒸汽锅炉(立式)
热水锅炉
压力容器分类及基本构成
液化石油气瓶
无缝气瓶
溶解乙炔气瓶
钢制焊接气瓶
金属内胆纤维环缠绕气瓶
车用CNG金属内胆纤维环缠绕气瓶
管束式集装箱用大容积钢制无缝气瓶
长管拖车用大容器钢制无缝气瓶
制冷机组
压力管道的分类
(4)电梯,是指动力驱动,利用沿刚性导轨运行的箱体或者沿固定线路运行的梯级(踏步),进行升降或者平行运送人、货物的机电设备,包括载人(货)电梯、自动扶梯、自动人行道等。非公共场所安装且仅供单一家庭使用的电梯除外。
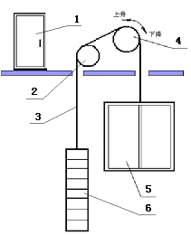
电梯工作原理示意图
1.控制柜;2.导向轮;3.曳引钢丝绳;4. 曳引轮;5.轿厢;6.对重
电梯的分类及基本构成
客梯
货梯
自动扶梯
自动人行道
杂物梯
观光梯
起重机械的分类
1.电动机 2.联轴器 3.制动器 4.减速器 5.卷筒 6.钢丝绳 7.滑轮和吊具起升机构工作原理图
通用门式起重机
门式起重机
通用桥式起重机
桥式起重机
门座式起重机
桅杆式起重机
电动单梁起重机
升降作业平台,现已不在《特种设备目录》中
机械式停车设备
客运索道的分类
按支撑物的不同,分三大类。
客运架空索道
利用架空的绳索支撑运载工具运送乘客。

客运拖牵索道
利用运载钢丝绳作为牵引动力带动拖牵杆拉乘客移动的设施。分高位(拖牵索距地面高度大于2m)、低位拖牵索道。
客运缆车
大型游乐设施的分类
观览车类—乘人部分绕水平轴回转
观览车类–摩天轮
观览车类–摇滚排排坐
观览车类–阿拉伯飞毯
滑行车类—沿轨道运行,有惯性滑行特征
滑行车类–过山车
滑行车类–激流勇进
滑行车类–疯狂老鼠
架空游览车类—沿轨道运行,有惯性滑行特征
架空游览车类–太空漫步
架空游览车类–儿童爬山车
陀螺类—座舱绕可变倾角的轴做回转运动,主轴大都安装在可升降的大臂上
陀螺类–天旋地转
陀螺类–逍遥水母
飞行塔类—乘人部分用挠性件吊挂,边升降边绕垂直轴回转
飞行塔类–青蛙跳
飞行塔类–跳跃云霄
飞行塔类–太空梭
飞行塔类–飞行塔
转马类—乘人部分绕垂直轴旋转
转马类–旋转木马
自控飞机类—乘人部分绕中心垂直轴回转并升降
自控飞机类–自控飞机
自控飞机类–章鱼类
滑道类—是指沿轨道、惯性滑行行为运动形式的游艺机。在滑行过程中操作人员是无法控制的,只能顺其自然。
滑道类
滑道类–峡谷漂流
滑道类–水滑梯
无动力类—游乐设施本身无动力,由乘客自行在其上操作和游乐。蹦极系列、滑索系列、观光气球系列、空中飞人系列人力驱动的转盘、翻斗乐、蹦床、充气弹跳等。
无动力类
无动力类
无动力类–蹦极
(8)场(厂)内专用机动车辆,是指除道路交通、农用车辆以外仅在工厂厂区、旅游景区、游乐场所等特定区域使用的专用机动车辆。
场(厂)内专用机动车的分类
叉车,注:改变叉具的不属于叉车
平衡重式叉车
插腿式叉车
侧面式叉车
前移式叉车
托盘堆垛车
三向堆垛车
非公路用旅游观光车
非公路用旅游观光列车

版权声明:本文内容由互联网用户自发贡献,该文观点仅代表作者本人。本站仅提供信息存储空间服务,不拥有所有权,不承担相关法律责任。如发现本站有涉嫌侵权/违法违规的内容,请联系我们,一经查实,本站将立刻删除。
如需转载请保留出处:https://51itzy.com/kjqy/189118.html