剪力墙根据其受力特点,可以分为由弯曲行为控制的细长墙,和由剪切行为控制的短方墙。根据美标ASCE 41的建议,若墙高度与其长度之比大于3可视为细长墙(slender),该比值小于1.5可视为短方墙(short and squar)。高层结构中的剪力墙通常属于细长墙,以压弯行为为主,常用纤维截面来模拟其弹塑性行为的发展。
此外,对于剪力墙的抗震性能评价,ETABS提供了一系列性能评价指标,从微观的纤维应变、构件局部变形,到宏观的结构整体变形等等。同时,ETABS通过精巧的性能评价工具实现了海量性能指标数据的组织、筛分、呈现。本文将介绍相关的功能,并通过一个剪力墙案例展现其应用价值。
1、剪力墙的弹塑性单元
墙体弹塑性行为的发展与其受力方式密切相关,不同的单元类型适用于不同的受力状态。ETABS提供了两种弹塑性单元来模拟墙体:墙铰与分层壳。我们应区分情况选择合适的方式来模拟墙体弹塑性行为。
1.1 墙铰
墙铰,顾名思义,是墙体上布置的塑性铰。墙铰的实质是由混凝土纤维和钢筋纤维组成的纤维截面,用来模拟墙体的压弯行为的塑性发展过程。在ETABS中,墙体的钢筋来源有三个选项:来自设计结果、给定配筋率、自定义布筋,如图1-1所示。
前两种方式很容易理解,根据配筋面积或者配筋率将钢筋均匀分布于墙肢截面中,钢筋等级来自于剪力墙设计首选项中设定的钢筋材料。若选择第三种方式,则可以自定义墙肢的边缘构件范围,分别布置边缘区和非边缘区的钢筋,对话框如图1-2所示。完成墙体钢筋指定后,则可指定自动墙铰,生成相应的纤维截面,如图1-3所示。完成计算分析后,我们可以查询墙铰的弯矩-转角曲线、纤维的应变等结果。
墙铰模拟墙体的压弯行为,墙体的剪切行为仍是弹性的,取决于材料的剪切模量,压弯和剪切行为没有耦合。但现实中压弯和剪切是相关的,因压弯塑性行为发展而导致的墙体开裂会显著影响剪切行为,其相关性非常复杂,通过墙铰不能直接模拟这种复杂的相关行为。
工程分析中,我们一般通过修正剪切刚度的方法来近似考虑其影响。比如,Perform3D模型中定义墙体的弹性剪切材料时,其有效剪切模量取不开裂模量和剪切钢筋屈服时的割线模量之间的数值。
Powell教授建议有效剪切模量取其不开裂模量的四分之一。按照这个建议,在ETABS中,可以指定墙体剪切刚度f12的折减系数为0.25,以达到相同的效果。Powell教授同时指出,由于细长墙的剪切变形不突出,剪切模量的误差不会对结构行为带来过大影响。同时,通过性能化设计也要确保墙体的剪切不屈服,所以工程上这种近似的处理方法是可行的。

图1-1设置墙配筋数据

图1-2 自定义墙体钢筋分布

图1-3 指定墙铰自动生成纤维截面及计算结果
1.2 分层壳
分层壳是将面对象沿厚度方向分为若干层,每层可以独立定义相应的材料和行为,通过平截面假定将各层连接在一起。分层壳可以模拟更复杂的壳行为,可用于模拟短方墙、深连梁、斜板、楼板的非线性行为。
分层壳不是本文介绍的重点,这里不展开阐述。但实际应用分层壳时,常常遇到分析时间过长、计算不收敛、不知如何查看结果等问题,这里给出几点使用建议:
1)依据构件的期望行为合理简化分层壳,控制分层的数量和非线性自由度的数量。例如对于剪力墙,面内和面外行为可分开定义,且只考虑面内行为的非线性;钢筋层是一维材料,只激活S11自由度即可;混凝土层的非线性仅限于面内的S11和S22,其它自由度可设为弹性。
2)分层壳属性一定要仔细检查。任意一层某个行为的不合理设置,都会带来计算不收敛的现象。
3)分层壳可以输出应力和应变,应综合两者的结果判断结构行为。
合理的分层壳设置可以提升分析效率,也有助于解释计算结果。
2. 评价指标
对于建筑结构行为的评价,通常着眼于两个方面:强度和变形。建筑结构的抗震性能评估,是考察结构屈服后行为的发展,此时延性构件的承载力变化不大,但构件变形的变化很快。美标ASCE 41中对于延性构件的性能评估多是基于变形,对于脆性行为则是控制强度。
对于剪力墙,通过墙铰、分层壳可以查看墙体的应力应变。除此之外,ETABS还提供了一些重要的性能检测工具和指标:两点应变计、四点应变计、墙肢和连梁的剪力校核,以下分别介绍。

图2-1 定义两点应变计

图2-2 定义四点应变计
两点应变计,用于量测两点间的应变(U1、U2、U3)或转角(R1、R2、R3)。应变计不仅可以量测应变,还可以将应变值与不同性能水准的应变限值进行比较,用来评估其变形,如图2-1所示。例如,两点应变计可用来评估墙肢边缘的拉、压状态。
四点应变计,用于量测剪应变或转角。将四点应变计指定给一个面对象,对于墙肢,可测量墙肢的水平剪应变和墙肢转角;对于连梁,可测量连梁的垂直剪应变和连梁转角,如图2-2所示。
墙肢或连梁的剪力校核。ETABS“指定”菜单下的命令“指定墙肢力可接受准则”可以设定不同性能水准下对墙肢剪力限值。如图2-3所示,对应IO、LS、CP,可以分别定义V2、V3的剪力限值(一般只需激活V2,即面内剪力)。同时,墙肢的剪力限值还可设置为与轴力相关。当墙肢处于某种轴力状态时,其剪力限值等于已定义的可接受准则乘以剪力系数。图2-4展示了剪力系数的变化规律,当轴力为零时,剪力系数等于1;当轴力为压力时,受剪承载力随压力增加而线性增加,达到给定压力时,剪力系数为大于1的定值;当轴力为拉力时,受剪承载力随拉力增加而线性减小,达到给定拉力时,剪力系数为小于1的定值。程序根据图2-3中的定义,将实际的构件剪力与可接受准则进行对比,从而判定墙肢受剪状态。
连梁的剪力校核定义命令为【指定】>【指定连梁力可接受准则】,定义方法与墙肢类似,只是不需要与轴力相关。这里不赘述。

图2-3 定义墙肢剪力可接受准则

图2-4 剪力系数体现轴力对剪力的影响
3 评价工具
建筑结构的抗震性能评估是一个对海量数据的筛分、提炼、综合对比分析的过程。不仅要考虑多个地震波的时程分析工况,还要考查不同部位、不同类型的构件是否符合期望的性能水准要求。此时,借助ETABS提供的性能校核工具,将大量的分析结果精炼为若干需求-能力(D/C)比率,直观地呈现在结构模型上,或者通过图表横向对比不同地震波、不同构件、不同性能水准的检查结果。
如何使用ETABS性能校核工具?首先,通过命令【定义】>【定义性能校核】来确定性能检查的内容,包含哪些工况、输出哪些性能指标的D/C(即Demand/Capacity,“需求”与“能力”的比值,“需求”来自计算分析结果,“能力”来自可接受准则,D/C小于1代表满足相应的性能要求)。如图3-1所示,在区域2定义需求集所包括的分析工况,各个工况的组合方式可以是:最大值、平均值、SRSS、绝对值之和;区域1显示已定义的需求集列表,其组合方式可以是:最大值或均值加标准差,即性能校核是多个需求集的组合结果;区域3选择性能校核指标,包括框架铰、墙铰、连接单元、应变计、墙肢连梁剪力和节点区,决定程序显示输出哪些D/C结果。所以,性能校核包含多少工况、多少构件类型、结果取值方式都是可以灵活定义的。
举个例子,假设X、Y方向分别计算了3个地震波工况,对应的工况名称为X1、X2、X3和Y1、Y2、Y3。我们既可以按方向来考察各条波的包络结果,也可以同时考察所有波的包络结果。图3-2的定义方式,是考察X方向所有地震工况的包络结果。图3-3的定义方式,是分别考察X、Y方向地震工况包络结果后再考虑所有工况的包络值。
完成性能校核的定义,在分析结束后,即可查看性能检查结果。下面结合案例来进一步说明。

图3-1 定义性能校核

图3-2 X方向地震作用下的性能校核

图3-3 所有地震作用下的性能校核
4 示例
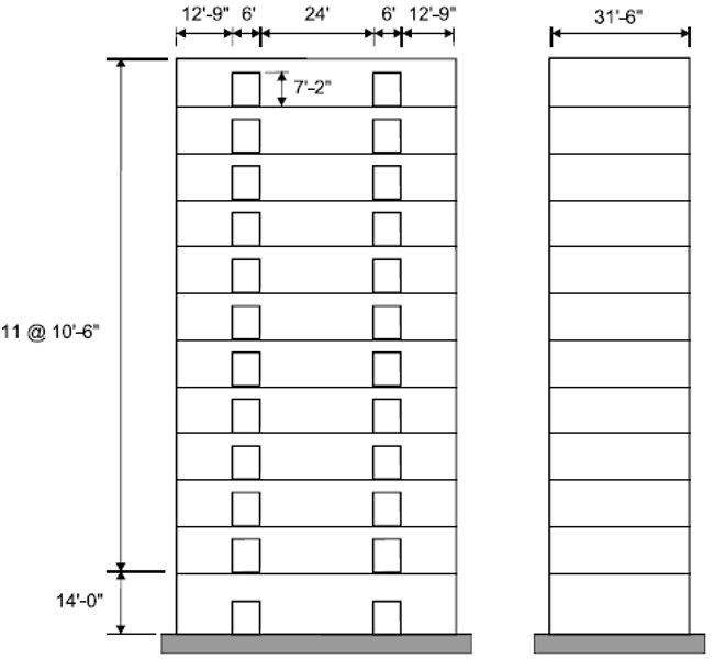
我们用ETABS来重现一个Perform3D的剪力墙案例。该结构的平面和立面如图4-1,内部为核心筒,外部为框架。所有柱为重力柱,即框架只承担重力荷载,所有侧向荷载由核心筒承担。所以,在模型中只建了核心筒模型,核心筒承担自重和相应的楼面荷载,楼层质心位置布置了一根“虚柱”(只有竖向刚度),承担框架结构的自重和相应的楼面荷载。核心筒和“虚柱”通过刚性隔板相连。楼层质量按节点集中质量的方式施加在楼层质心处。Perform3D和ETABS的模型如图4-2所示。


图4-1 案例概况
连梁采用框架单元模拟。连梁与墙体搭接的位置布置埋设梁,底部一层是深连梁,埋设梁沿梁高方向布置,其它楼层的埋设梁沿水平方向布置。放大埋设梁的弯曲刚度,减小其轴向和扭转刚度,以避免额外增加墙的刚度。
读入三条地震波记录,分别沿X、Y方向作用于结构上,定义相应的弹塑性时程分析工况。定义性能校核“X-max”,包括地震波Motion1、Motion2和Motion3在X方向的三个地震工况,如图4-3所示。通过“X-max”我们可以查看这三个地震工况的包络结果。
本示例的主要目的是为了展示ETABS评估剪力墙性能的功能,不涉及变形能力细节的讨论。ETABS相关参数的设置依据均来自Perform3D模型。

图4-2 Perform3D(左)和ETABS(右)模型

图4-3 定义性能校核X-max
4.1墙肢转角D/C
ASCE 41 用于评估压弯为主的细长墙的性能指标有“墙体转角”,通过底部塑性区的转动来衡量墙体塑性行为的发展。墙肢转动能力与三方面有关:
1)轴压比。轴压比增大,墙的转动延性降低。
2)墙肢剪力。剪力越大,转动延性越低。
3)是否有边缘约束区。有边缘约束构件的墙肢,具备更大的转动延性。
ASCE 41按照以上三个方面分情况给出了墙肢转角的可接受准则。通过ETABS的四点应变计可输入相应的可接受准则。
图4-4是ASEC41对墙体塑性区lp的假定,lp等于弯曲高度的一半,但应小于层高,且小于墙段长度的一半。ETABS建模时,应先确定塑性区范围,然后在该区域布置四点应变计来评估墙肢转角D/C。从图4-2和图4-5可以看到本例ETABS模型的首层墙体被分割了,就是基于这个原因。
图4-5的绿**域是布置在墙体塑性区的四点应变计,上面显示的数值为墙肢转角性能评估结果。在给定的性能水准CP条件下,墙肢转角D/C的比值不大于0.2,说明墙体变形距离CP目标还有相当距离。

图4-4 ASCE 41墙肢塑性区长度

图4-5 ETABS墙肢转角D/C
4.2连梁剪切D/C
本例连梁对应性能水准CP的转角限值为0.03 rad,连梁跨度为72 in,由此得连梁的剪切变形限值为72*0.03=2.16 in。文献[1]使用剪切铰来评估连梁的剪切行为,ETABS采用了跟Perform3D相同的剪切铰的定义,如图4-6所示。需要注意的是,本例连梁只布置了剪切铰,而且使用了延性铰来定义剪切铰,这与我们的习惯做法不同。作者猜测是Powell教授基于ASCE 41对连梁转动能力的规定以及弯矩-剪力的相互关系,从而自定义了连梁剪切F-D关系,其中暗含了弯曲行为的影响。我们的习惯做法是在连梁上布置弯曲铰,连梁的剪切行为使用脆性铰(力控制铰)或本文第2节提及的连梁剪力校核来评估。这两种模拟方式的差异有待进一步研究,这里不展开。


图4-6剪切铰的定义
图4-7为连梁剪切铰的性能校核结果,可以看到上部有几层连梁的剪切变形比率超过0.7,但多数连梁的剪切变形距限值尚有一段距离。说明连梁的剪切行为符合预期目标。

图4-7 连梁剪切铰D/C
4.3 墙肢边缘拉应变或压应变D/C

对于细长墙,允许底部出现铰,上部应保持弹性。在本例中,底层可能出铰,所以布置在底层墙肢边缘的应变计,其受压应变限值为混凝土压溃应变,受拉应变限值为钢筋的极限应变;而上部楼层不允许出铰,所以布置在2层及以上楼层墙肢边缘的应变计,其受压应变限值为混凝土压溃应变,受拉应变限值为1.5倍钢筋屈服应变(文献[1]中假定钢筋应变超过其1.5倍屈服应变意味着墙体可能出铰)。在Perform3D和ETABS模型中我们使用两点应变计实现了相同的功能,图4-8和图4-9(左)是相应的结果,两个软件的结果吻合得很好。整体而言,上部楼层的墙肢边缘应变D/C值非常小(蓝色),二层部分墙体边缘纤维应变大于0.7(黄色),但都未超过1.0,说明上部楼层的墙体均保持弹性状态,符合预期。底层墙肢边缘应变D/C值约0.1~0.3左右,距离混凝土压溃或钢筋达到极限应变有相当距离,这与本文4.1节对墙肢转角的评估结果是一致的。
需要注意的是,应变是量测范围内的平均值,对量测单元的长度非常敏感。所以,我们要合理控制应变计的长度,其结果才有参考价值。
其实,以上结果通过ETABS的墙铰也可以获取,墙铰D/C结果来自纤维截面中纤维应变与其材料可接受准则的比值的最大值,图4-9(右)即墙铰的性能检查结果。对比图4-9左、右两图,两者吻合得很好。墙铰是针对墙截面内所有纤维的应变进行统计,两点应变计是根据所在位置的变形进行统计,两者配合使用可以得到更丰富的结果。本例中,如果通过应变计发现墙肢边缘出现压溃,这时再结合墙铰内部纤维的应变可判断压溃向截面内部的发展状况。

图4-8 Perform3D模型墙肢边缘应变D/C

图4-9 ETABS模型的墙肢边缘应变D/C(左)和墙铰D/C(右)
4.4墙肢剪力D/C
墙体受剪一般要求保持弹性,不允许受剪钢筋出现屈服。所以通过监测墙体剪力不超过其受剪承载力,就可评估其受剪状态。这里使用本文第2节介绍的墙肢剪力校核工具,其性能指标即墙肢剪力D/C。
根据美标受剪承载力的规定,设定墙肢剪力限值为950psi。图4-10是X方向地震波作用下墙肢剪力校核的包络值。由图可知,所有墙肢均未超过剪力强度限值,筒体中下部的墙体剪力偏大,D/C比值在0.8左右。但D/C均未超过1,说明墙体的抗剪性能符合预期。

图4-10 墙肢剪力D/C
4.5 性能校核比率曲线图
以上分别介绍了针对特定性能校核指标的定义和查看,所使用的命令是【显示】>【显示性能校核】。我们还可以把所有性能校核指标的包络结果放在同一张图中进行横向对比,相应的命令是【显示】>【显示性能校核使用比率图】。如图4-11所示,横坐标是各个地震工况,纵坐标是D/C比值,不同颜色的折线代表不同性能校核指标。对于本例,显示了五种性能校核指标:墙铰(黄色)、连梁剪切铰(紫色)、墙肢端部线应变(蓝色)、墙肢剪力(绿色)、墙肢转角(棕色)。图中综合展示了X方向三个地震作用下给定性能水准的校核结果,所有性能校核指标的D/C值均小于1(所有折线都位于红色虚线以下),说明构件的抗震性能符合相应性能水准的要求。

图4-11 性能校核比率曲线
5小结
剪力墙抗震性能的模拟和评价是一个复杂的课题。ETABS提供了一系列工具来帮助工程师判断剪力墙在地震作用下的塑性发展状态。通过应变计、墙铰等工具可以获知墙肢转角、纤维应变的信息,从而判断墙体的受弯状态。通过剪力校核工具可以判断墙肢、连梁的受剪状态。通过性能校核比率曲线可以综合对比分析不同的地震波、不同性能水准、不同性能指标的结果。
本文使用ETABS重现文献中Perform3D的建模分析过程,一方面是展示ETABS的功能,证明ETABS能够灵活高效地完成剪力墙的抗震性能分析与评估;另一方面是借此案例学习Powell教授以及ASCE 41对剪力墙性能分析的思路。
建筑结构的抗震性能分析与设计没有固定的模式或步骤,所有分析都源于对结构行为的理解和判断。ETABS越来越丰富、完善的性能化设计工具将帮助工程师们更好地实现设计理念。
(完)
往期推荐 ·
【JY】浅谈混凝土损伤模型及Abaqus中CDP的应用
【JY】浅谈混凝土结构/构件性能试验指标概念(二)
#概念机理
【JY】推开土木工程振型求解之兰索斯法(Lanczos法)的大门
【JY】基于OpenSees和Sap2000静力动力计算案例分析
【JY】建筑结构施加地震波的方法与理论机理
#软件讨论
【JY】复合材料分析利器—内聚力单元
【JY】SDOF计算教学软件开发应用分享
【JY】Abaqus6.14-4如何关联fortran?
【JY】如何利用python来编写GUI?
#YJK前处理参数详解
#其他
【JY】今日科普之BIM

~关注未来更精彩~

版权声明:本文内容由互联网用户自发贡献,该文观点仅代表作者本人。本站仅提供信息存储空间服务,不拥有所有权,不承担相关法律责任。如发现本站有涉嫌侵权/违法违规的内容,请联系我们,一经查实,本站将立刻删除。
如需转载请保留出处:https://51itzy.com/kjqy/124046.html