阿里投入的30亿春节免单,让千问一下子闯入大众视野,千问App登顶苹果App Store免费APP榜单第一!
当其他AI应用还在用传统“发红包”方式吸引用户时,阿里千问已经开始通过“让AI办事”来改变用户的日常消费习惯。

据悉,千问是阿里巴巴集团旗下的个人AI助手应用,基于阿里巴巴自研的通义千问(Qwen)大模型打造。早在1月15日,千问App就宣布全面接入淘宝、支付宝、淘宝闪购、飞猪、高德等阿里生态业务,在全球首次实现点外卖、买东西、订机票、订酒店等AI购物功能。
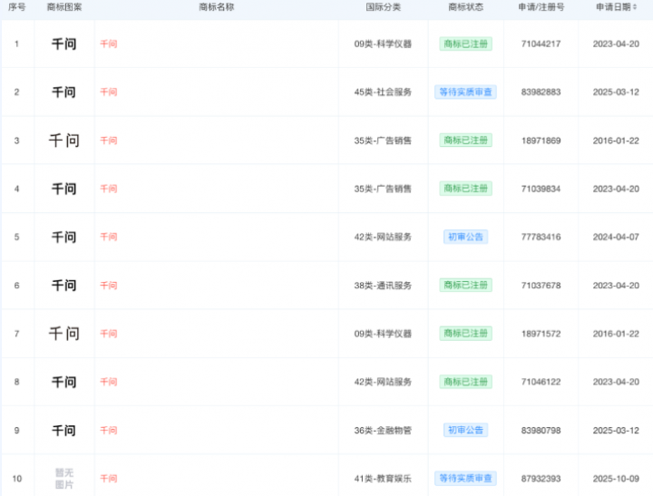
知协查询了解到,阿里最早于2016年开始为千问申请商标注册,已成功注册多枚“千问”商标,覆盖第9类科学仪器、第35类广告销售、第38类通讯服务、第42类设计研究等多个国际分类。同时,阿里还注册了英文商标“Tongyi Qwen”,进一步强化品牌保护。

有意思的是,有网友发现阿里频繁投诉一个名为“千问”的公众号,从去年 11 月至今已 5 次向微信平台投诉该公众号 “侵权”,最新一次投诉就在 2 月 4 日。
据了解,这个“千问”公众号在11年前由一位个人注册,但2015年后便长期停更。阿里拿下“千问”商标后,对这个账号进行“侵权”投诉,想要拿下这个名字。
不过,微信平台始终坚守 “先注先得” 原则,5 次投诉全部驳回,明确表示 “未能核实判断被投诉内容侵权”。
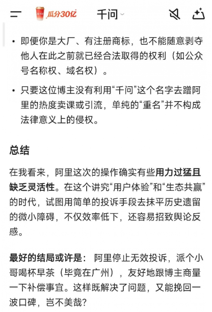
该事件引发网友热议,甚至还有人在千问互动,问千问的看法?千问表示,阿里的这番操作有些用力过猛且缺乏灵活性,最好的结局或许是停止无效投诉,找该公众号的注册人友好协商补偿事宜,既解决了问题,又能挽回一波口碑。

也许,阿里可以试试听从千问的建议。
版权声明:本文内容由互联网用户自发贡献,该文观点仅代表作者本人。本站仅提供信息存储空间服务,不拥有所有权,不承担相关法律责任。如发现本站有涉嫌侵权/违法违规的内容,请联系我们,一经查实,本站将立刻删除。
如需转载请保留出处:https://51itzy.com/kjqy/228394.html