一、循环学习
1、关键标志位
【RUP_DIS】、【VOK】、【QEN】、【FC】


2、关键寄存器
【cycle counts】、【update status】、【Qmax】

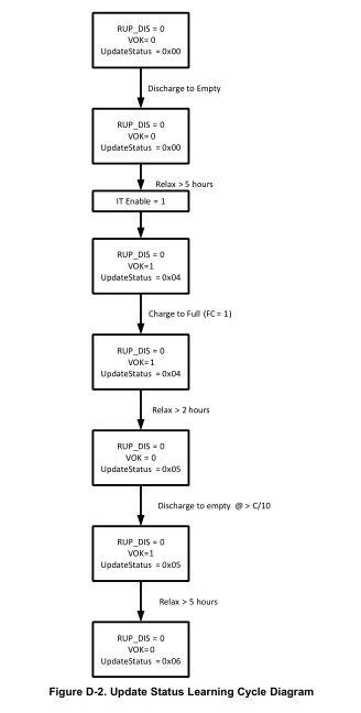
3、循环学习过程


二、循环学习失败的原因

个人总结:
(1)Taper Current(充完成阀值电流),要根据电芯的容量来设置,不宜设置太小,因为设置太小,充电就很难满足这个条件。在设置循环学习充放电工步时,因注意充电截止电流应该要小于Taper Current * 实际设计缩小的倍数;
三、踩坑
1、电流电压校准
在导入性的固件后,需要对板子的偏移、电压、电流进行校准;
(1)在校准的过程发现,有的电脑不能校准电压,报出的警告是“电压超过范围”,但是换一台电脑校准电压又完全没有问题。这种问题不知道是bq stadio软件还EV2300造成的;
(2)校准电流时,bq stadio软件显示的电流非常的慢,这种问题不知道是bq stadio软件还是电量计采用平均电流的原因造成的;
2、学习失败
(1)充电时【FC】,满充标志位不置位,造成的原因可能有:进行恒流恒压充电时,恒压设置的比电量计内部设置的要低;截止电流比电量计中设定的截止电流要大;以上原因是【FC】不置位的原因;
(2)静置的时间不够,充完电后一般需要静置2小时,放完电后一般需要静置5小时。不过在实验中发现,这个静置的时间也是视情况而定,如果是大容量的电池包,一般充完电后放完电后30min--50min之间就会更新,小容量的电池尽量设置静置的时间长一点,因为稍微有点电流就会造成电压波动,从而不能满足小于4uv/s的变化;

(3)在使用老化柜对电池进行充放电时,要看老化柜检测的电流电压与电量计检测的误差。例如我在做实验时发现,老化柜检测的电压比电量计检测的电压值要高出200mV左右,所以在设定工步的时候就要考虑这个误差值,比如我是12串的电池包,那么我的充电电压就应该设置在4200*12+200mV,否则很可能充电结束后【FC】不置位;
(4)在学习的过程中,避免电池给其他器件供电,必要的供电可采取外接电源的方式;
3、对量产文件进行SOC精准度验证
在学习成功后,导出gg和srce文件。为验证SOC的精准度,需要把量产文件烧录到一个新的电池包中,进行1C充放循环和大电流放电,看充电满电后SOC是否变为100%,放空后SOC是不是变为0%。在这个过程需要注意以下几个问题:
(1)烧录完固件后,需要进行电压电流校准;
(2)进行电压电流校准后,需要发送【RESET】命令进行复位操作;
(3)在进行大电流放电验证SOC之前,最好是先进行1C充放循环之后再做大电流放电;
踩过的坑:
电量计烧录新的固件后,没有进行复位操作,没有先进行1C充放循环学习,就进行大电流放电,验证SOC的精准度。这时发现,SOC从50%直接变为0%。后来经过1C充放循环后在进行大电流(100A)放电测试,发现SOC还是挺准的。
四、总结
1、进行循环学习时,最好是同时使用多组电池进行试验,用一组电池放空后静置备用,如果学习失败了,可以立即换备用电池进行充放学习,这样就可以节省学习前放空操作的时间;
2、阻抗跟踪在进行充电前才开启;
3、阻抗跟踪开启是否成功,不能只看【QEN】位状态




版权声明:本文内容由互联网用户自发贡献,该文观点仅代表作者本人。本站仅提供信息存储空间服务,不拥有所有权,不承担相关法律责任。如发现本站有涉嫌侵权/违法违规的内容,请联系我们,一经查实,本站将立刻删除。
如需转载请保留出处:https://51itzy.com/kjqy/55643.html