目录
一、PCF8591基本概念
(一)PCF8591概述
(二)PCF8591的特性
(三)设备地址
(四)控制寄存器
(五)D/A转换
(六)A/D转换
二、例题
(一)代码部分
(二)结果演示
(三)光敏电阻的采样和A/D转换
三、总结
一、PCF8591基本概念
(一)PCF8591概述
PCF8591是单片、单电源低功耗的8位CMOS数据采集器件,具有IIC总线接口的8位A/D以及D/A转换器,有4路A/D转换输入,1路D/A模拟输出。图1 PCF8591引脚图

图1 PCF8591引脚图
(二)PCF8591的特性
单电源供电
工作电压:2.5V~6V
IIC总线串行输入/输出
通过3个硬件地址引脚编址
采样速率取决于IIC总线速度
4个模拟输入可编程为单端或差分输入
自动增量通道选择
8位逐次逼近式A/D转换
片上跟踪与保持电路
带一个模拟输出的乘法DAC
(三)设备地址
PCF8591的地址由两部分组成:固定地址和可编程部分。其中可编程部分必须根据地址引脚A0,A1,和A2来设置。

图2 PCF8591的地址
在IIC总线协议中,设备地址是起始信号后第一个发送的字节。在蓝桥杯单片机设计与开发中PCF8491的地址引脚A0、A1和A2均接地,则PCF8591的设备的读操作地址为:0x91;而写操作地址则为:0x90。
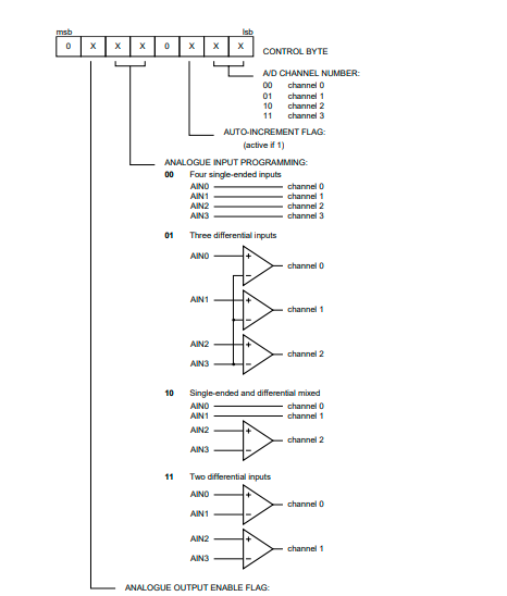
(四)控制寄存器
在设备地址之后,发送到PCF8591的第二个字节将被存储在控制寄存器中,用于控制器件功能。

图3 控制寄存器
下面对控制寄存器进行简单的解读:
| 位 |
值 |
复位值 |
功能描述 |
|
| 7 |
0 |
特征位 |
固定值:0 |
|
| 6 |
X |
模拟输出控制 |
0 :A/D转换; 1: D/A转换 |
|
| 5
|
X |
模拟量输入方式选择 |
00 :四路单端输入 01 :三路差分输入 10 :两路单端,一路差分 11 :两路差分输入 |
|
| 4 |
X |
|||
| 3 |
0 |
特征位 |
固定值:0 |
|
| 2 |
X |
自动增量控制 |
0 :禁止自动增量 1 :允许自动增量 |
|
| 1 |
X |
A/D通道选择 |
00 :AIN0,通道0 01 :AIN1,通道1 10 :AIN2,通道2 11 :AIN3,通道3 |
|
| 0 |
X |
|||
在进行数据处理操作时,首先是主控器发出起始信号,然后发出读寻址字节,被控器发出应答后,主控器从被控器读出第一个数据字节,主控器发出应答,主控器从被控器读出第二个数据字节,主控器发出应答,一直到主控器从被控器中读出第n个数据字节,主控器发出非应答信号,最后主控器发出停止信号。
在蓝桥杯竞赛中PCF8591连接有光敏电阻(通道1)和电位器Rb2(通道3)两部分。
(五)D/A转换

图4 ADC电阻电路
下面提供D/AZ转换的公式和相关波形:

图5 D/A转换的公式

图6 D/A转换的相关波形
(六)A/D转换
A/D转换器采用逐次逼近转换的技术。
下面提供其相关波形和转换特性:

图7 A/D转换顺序

图8 单端输入的A/D转换特性

图9 差分输入的A/D转换特性
二、例题
在CT107D综合训练平台上,实现Rb2的测量。
(一)代码部分
#include "reg52.h" #include "iic.h" unsigned char Rb2=0; unsigned char code SMG_duanma[18]= {0xc0,0xf9,0xa4,0xb0,0x99,0x92,0x82,0xf8,0x80,0x90, 0x88,0x80,0xc6,0xc0,0x86,0x8e,0xbf,0x7f}; void SelectHC573(unsigned char channel) { switch(channel) { case 4: P2=(P2 & 0x1f) | 0x80; break; case 5: P2=(P2 & 0x1f) | 0xa0; break; case 6: P2=(P2 & 0x1f) | 0xc0; break; case 7: P2=(P2 & 0x1f) | 0xe0; break; case 0: P2=(P2 & 0x1f) | 0x00; break; } } void DelaySMG(unsigned int t) { while(t--); } void DisplaySMG_Bit(unsigned char pos,unsigned char value) { SelectHC573(7); P0=0xff; SelectHC573(6); P0=0x01<<pos; SelectHC573(7); P0=value; } void DisplanSMG() { DisplaySMG_Bit(0,SMG_duanma[16]); DelaySMG(100); DisplaySMG_Bit(1,SMG_duanma[3]); DelaySMG(100); DisplaySMG_Bit(2,SMG_duanma[16]); DelaySMG(100); DisplaySMG_Bit(3,0xff); DelaySMG(100); DisplaySMG_Bit(4,0xff); DelaySMG(100); DisplaySMG_Bit(5,SMG_duanma[Rb2/100]); DelaySMG(100); DisplaySMG_Bit(6,SMG_duanma[(Rb2%100)/10]); DelaySMG(100); DisplaySMG_Bit(7,SMG_duanma[Rb2%10]); DelaySMG(100); } void PCF8591_ADC() { IIC_Start(); IIC_SendByte(0x90); IIC_WaitAck(); IIC_SendByte(0x03); IIC_WaitAck(); IIC_Stop(); IIC_Start(); IIC_SendByte(0x91); IIC_WaitAck(); Rb2=IIC_RecByte(); IIC_SendAck(1); IIC_Stop(); } void main() { SelectHC573(5); P0=0xff; while(1) { DisplanSMG(); PCF8591_ADC(); } }
讯享网
(二)结果演示

(三)光敏电阻的采样和A/D转换
下面提供光敏电阻的采样和A/D转换的代码部分
讯享网unsigned char Rd1=0; //定义光敏电阻变量 void PCF8591_ADC() { IIC_Start(); IIC_SendByte(0x90); IIC_WaitAck(); IIC_SendByte(0x01); IIC_WaitAck(); IIC_Stop(); IIC_Start(); IIC_SendByte(0x91); IIC_WaitAck(); Rd1=IIC_RecByte(); IIC_SendAck(1); IIC_Stop(); }
三、总结
PCF8591外设是蓝桥杯单片机设计与开发大赛中的一个重点和难点,对于其基本特性必须了解、掌握,以及熟悉官方提供的IIC总线的相关代码,在平时要多练习,熟悉掌握其相关代码是编写。


版权声明:本文内容由互联网用户自发贡献,该文观点仅代表作者本人。本站仅提供信息存储空间服务,不拥有所有权,不承担相关法律责任。如发现本站有涉嫌侵权/违法违规的内容,请联系我们,一经查实,本站将立刻删除。
如需转载请保留出处:https://51itzy.com/kjqy/58551.html