通俗解释socket
socket是网络编程的基础,本文用打电话来类比socket通信中建立TCP连接的过程。
socket函数,表示你买了或者借了一部手机。
bind函数,告诉别人你的手机号码,让他们给你打电话。
listen函数,打开手机的铃声,而不是静音,这样有电话时可以立马反应。listen函数的第二个参数,最大连接数,表示最多有几个人可以同时拨打你的号码。不过我们的手机,最多只能有一个人打进来,要不然就提示占线。
connect函数,你的朋友知道了你的号码,通过这个号码来联系你。在他等待你回应的时候,不能做其他事情,所以connect函数是阻塞的。
accept函数,你听到了电话铃声,接电话,accept it!然后“喂”一声,你的朋友听到你的回应,知道电话已经打进去了。至此,一个TCP连接建立了。
read/write函数,连接建立后,TCP的两端可以互相收发消息,这时候的连接是全双工的。对应打电话中的电话煲。
close函数,通话完毕,一方说“我挂了”,另一方回应"你挂吧",然后将连接终止。实际的close(sockfd)有些不同,它不止是终止连接,还把手机也归还,不在占有这部手机,就当是公用电话吧。
注意到,上述连接是阻塞的,你一次只能响应一个用户的连接请求,但在实际网络编程中,一个服务器服务于多个客户,上述方案也就行不通了,怎么办?想一想1860,移动的声讯服务台,也是只有一个号码,它怎么能同时服务那么多人呢?可以这样理解,在你打电话到1860时,总服务台会让一个接线员来为你服务,而它自己却继续监听有没有新的电话接入。在网络编程中,这个过程类似于fork一个子进程,建立实际的通信连接,而主进程继续监听。1860的接线员是有限的,所以当连接的人数达到上线时,它会放首歌给你听,忙等待,直到有新的空闲接线员为止。
实际网络编程中,处理并发的方式还有select/poll/epoll等。
socket的建立是全双工的,所以会有三次握手,但是四次挥手的区别。
客户端<------------------------------------------->服务器
握手1,客户端请求服务器建立连接(客户端发);
握手2,服务器同意客户端的请求(客户端发),并请求客户端也建立连接(客户端收);
握手3,客户端同意服务器的请求(客户端收);
然后,客户端和服务器直接进行数据的收发,
(挥手是客户端和服务器端都可以主动发起的,这里以客户端主动发起为例)
挥手1,客户端告诉服务器要中断客户端发往服务器的这条线(客户端发);
挥手2,服务器应答客户端的中断请求(客户端发),此刻可能存在服务器依旧要给客户端发送数据的可能,所以不能中断服务器发往客户端这条线,因此这里就形成了“三次四次的差别”;
然后,服务器发送数据到客户端,
挥手3,服务器告诉客户端要中断服务器发往客户端的这条线(服务器发);
挥手4,客户端应答服务器的中断请求(服务器发);
四次挥手之后,不是立即断开连接,客户端要等待确认服务器收到了应答信息,即TIME_WAIT。
写过socket程序的人都遇到过,客户端的可执行程序运行结束之后,立刻去再执行这个可执行程序时,会提示这个socket正在被用,过两分钟左右,再执行,就不会有提示了,正是TIME_WAIT的原因。
三次握手:

客户端调用 socket() 函数创建套接字后,因为没有建立连接,所以套接字处于CLOSED状态;服务器端调用 listen() 函数后,套接字进入LISTEN状态,开始监听客户端请求
这时客户端发起请求:
1) 当客户端调用 connect() 函数后,TCP协议会组建一个数据包,并设置 SYN 标志位,表示该数据包是用来建立同步连接的。同时生成一个随机数字 1000,填充“序号(Seq)”字段,表示该数据包的序号。完成这些工作,开始向服务器端发送数据包,客户端就进入了SYN-SEND状态。
2) 服务器端收到数据包,检测到已经设置了 SYN 标志位,就知道这是客户端发来的建立连接的“请求包”。服务器端也会组建一个数据包,并设置 SYN 和 ACK 标志位,SYN 表示该数据包用来建立连接,ACK 用来确认收到了刚才客户端发送的数据包
服务器生成一个随机数 2000,填充“序号(Seq)”字段。2000 和客户端数据包没有关系。
服务器将客户端数据包序号(1000)加1,得到1001,并用这个数字填充“确认号(Ack)”字段。
服务器将数据包发出,进入SYN-RECV状态
3) 客户端收到数据包,检测到已经设置了 SYN 和 ACK 标志位,就知道这是服务器发来的“确认包”。客户端会检测“确认号(Ack)”字段,看它的值是否为 1000+1,如果是就说明连接建立成功。
接下来,客户端会继续组建数据包,并设置 ACK 标志位,表示客户端正确接收了服务器发来的“确认包”。同时,将刚才服务器发来的数据包序号(2000)加1,得到 2001,并用这个数字来填充“确认号(Ack)”字段。
客户端将数据包发出,进入ESTABLISED状态,表示连接已经成功建立。
4) 服务器端收到数据包,检测到已经设置了 ACK 标志位,就知道这是客户端发来的“确认包”。服务器会检测“确认号(Ack)”字段,看它的值是否为 2000+1,如果是就说明连接建立成功,服务器进入ESTABLISED状态。
至此,客户端和服务器都进入了ESTABLISED状态,连接建立成功,接下来就可以收发数据了。
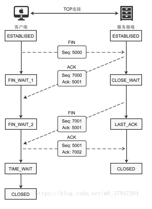
四次挥手:
[Shake 1] 套接字A:“任务处理完毕,我希望断开连接。”
[Shake 2] 套接字B:“哦,是吗?请稍等,我准备一下。”
等待片刻后……
[Shake 3] 套接字B:“我准备好了,可以断开连接了。”
[Shake 4] 套接字A:“好的,谢谢合作。”

建立连接后,客户端和服务器都处于ESTABLISED状态。这时,客户端发起断开连接的请求:
- 客户端调用 close() 函数后,向服务器发送 FIN 数据包,进入FIN_WAIT_1状态。FIN 是 Finish 的缩写,表示完成任务需要断开连接。
- 服务器收到数据包后,检测到设置了 FIN 标志位,知道要断开连接,于是向客户端发送“确认包”,进入CLOSE_WAIT状态。
注意:服务器收到请求后并不是立即断开连接,而是先向客户端发送“确认包”,告诉它我知道了,我需要准备一下才能断开连接。 - 客户端收到“确认包”后进入FIN_WAIT_2状态,等待服务器准备完毕后再次发送数据包。
- 等待片刻后,服务器准备完毕,可以断开连接,于是再主动向客户端发送 FIN 包,告诉它我准备好了,断开连接吧。然后进入LAST_ACK状态。
- 客户端收到服务器的 FIN 包后,再向服务器发送 ACK 包,告诉它你断开连接吧。然后进入TIME_WAIT状态。
- 服务器收到客户端的 ACK 包后,就断开连接,关闭套接字,进入CLOSED状态。

版权声明:本文内容由互联网用户自发贡献,该文观点仅代表作者本人。本站仅提供信息存储空间服务,不拥有所有权,不承担相关法律责任。如发现本站有涉嫌侵权/违法违规的内容,请联系我们,一经查实,本站将立刻删除。
如需转载请保留出处:https://51itzy.com/kjqy/49088.html