一. 计算机网络的概述
计算机网络基本概念
互连的,自治的计算机集合
计算机网络主要功能
- 数据通信
- 资源共享
- 分布式处理
- 提高可靠性
- 负载均衡
计算机网络组成
按照功能可以分为:通信子网、资源子网

讯享网
计算机网络分类
- 按照分布范围:广域网(WAN)、城域网(MAN)、局域网(LAN)、个人区域网(PAN)
- 按使用者分:公用网(移动、电信)、专用网(军用网等)
- 按交换技术分:电路交换、报文交换、分组交换
- 按拓扑结构分:总线型、星型、环形、网状型
- 按传播技术分:广播式网络、点对点网络
标准的分类
性能指标
- 速率:又称数据率或数据传输率或比特率,表示主机在数字信道上传输数据位数的速率,单位是b/s、kb/s、Mb/s、Gb/s、Tb/s。传输单元是比特,存储容量常用的1字节(byte)=8比特(bit),字节用B表示,比特用b表示。
- 带宽:通常指单位时间内从网络中的某一点到另一点所能通过的“最高数据率”,单位是b/s、kb/s、Mb/s、Gb/s、Tb/s。一般也指主机向数据链路每秒发送的最大的比特数量,而不是比特在链路中传输的速率。
- 吞吐量:单位时间内通过某个网络(或信道、接口)的数据量,单位同是b/s、kb/s等,受网络带宽影响。吞吐量指的是实际接收到的数据量的大小。
- 时延:指数据从网络的一端传送到另一端所需要的时间,也叫延迟,单位是s。
| 时延组成 | 说明 |
|---|---|
| 发送时延(传输时延) | 数据长度/信道带宽 |
| 传播时延 | 取决于电磁波的传播速度和链路长度 |
| 排队时延 | 等待输入或输出链路可用的时间 |
| 处理时延 | 路由器处理的时间,比如排队的时间 |
- 时延带宽积:就是时延*带宽,单位是bit,可以理解为某链路现在有多少比特
- 往返时延RTT:指发送方发送数据开始,到收到接收方的确认总共的时延。RTT越大,在收到确认之前,可以发送的数据越多。RTT包括往返传播时延+末端处理时间(比如接收方会对数据进行处理)。
- 利用率:利用率越高,时延会增长的更快
| 利用率 | 说明 |
|---|---|
| 信道利用率 | 有数据通过的时间/(有数据时间+无数据时间) |
| 网络利用率 | 信道利用率加权平均值 |
网络体系结构
网络体系结构是分层结构

- 实体:第n层中的活动元素被称为n层实体,同一层的实体叫对等实体
- 协议:为进行网络中的对等实体数据交换而建立的规则、标准或约定称为网络协议
- 接口:上层使用下层服务的入口
- 服务:下层为相邻上层提供的功能调用

SDU服务数据单元:为完成用户所要求的功能而应传送的数据
PCI协议控制信息:控制协议操作的信息
PDU协议数据单元:对等层次之间传送的数据单位
OSI参考模型(法定标准)

- 应用层:所有能和用户交互产生网络流量的服务。典型的应用层服务有文件传输(FTP)、邮件传输(SMTP)、万维网(HTTP)
- 表示层:处理处理两个通信系统中交换信息的表示方式(语法和语义)。比如数据格式变换、数据加密解密、数据压缩和恢复
- 会话层:向表示层实体提供建立连接,并在连接上有序的传输数据。功能是建立管理会话。主要协议有ADSP、ASP协议
- 传输层:负责主机中两个进程的通信,即端到端的通信,传输单位是报文段和用户数据报。主要功能是流量控制和差错控制
- 网络层:主要作用是吧分组从源端传送到目的端,为分组交换网上的不同主机提供通信服务,传输单位是数据报,可以被拆为一个个分组,主要功能有路由选择、差错控制、流量控制、拥塞控制。主要协议有IP、ICMP、IPX、ARP等
- 数据链路层:把网络层传输下来的数据报组装成帧,传输单位是帧。主要功能有定义帧的开始和结束、差错控制、流量控制、控制对信道的访问,主要协议有STP等
- 物理层:在物理媒体上实现比特流的传输,主要功能有定义传输速率、定义传输模式、比特编码、比特同步
TCP/IP参考模型(事实标准)
TCP/IP模型与OSI的对应关系

TCP/IP和OSI模型在网络层与传输层的区别

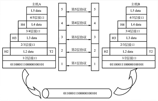
5层参考模型
5层参考模型综合了OSI和TCP/IP的优点,其结构如下

五层参考模型的数据封装与解封装

二. 物理层
物理层主要解决的问题就是在传输介质中如何传输比特流。
主要任务:确定与传输媒体接口有关的特性
机械特性:规定物理连接所采用的规格、接口形状、引线数目、引脚数目和排列情况
电气特性:规定传输二进制位时,电压范围、传输速率和距离限制等
功能特性:指明某条线上出现什么电压表示什么意义
规程特性:定义物理线路的工作规程和时序
数据通信基础知识
数据: 发送信息的实体,通常是有意义的符号序列
信号: 数据的电气/电磁的表现,是数据在传输过程中的存在形式,数字信号是离散的,模拟信号是连续的
信源: 产生和发送数据的源头
信宿: 接受数据的终点
信道: 信号的传输媒介,一般一条线路包含发送信道和接收信道。信道有无线信道和有线信道之分,模拟信道和数字信道之分。
三种通信方式
- 单工通信:只有一个方向的通信而没有反方向的交互,仅需要一条信道。
- 半双工通信:通信的双方都可以发送和接收数据,但是任何一方都不能同事接收和发送。
- 全双工通信:通信双方可以同时发送和接收消息
两种数据传输方式
- 串行传输:速度慢、费用低,适合远距离

- 并行传输:速度快、费用高、适合近距离

码元:指用一个固定时长的信号波形,代表不同离散数值的基本波形,是数字通信中数字信号的计量单位,这个时长内的信号成为k进制码元,该时长被称为码元宽度。一码元可以携带多个比特的信息量,在使用二进制编码时,只有两种不同的码元,一种代表0状态,另一种代表1状态。
速率:指数据的传输速率,即从主机发送到链路的速度,可以用码元传输速率和信息传输速率表示。
- 码元传输速率:表示单位时间内数字通信系统所传输的码元个数,单位是波特,1波特表示1秒钟传送1码元,码元速率和进制数无关。
- 信息传输速率:表示单位时间内传输的比特数
失真:指的是信号有损失。码元传输速率越大、噪声干扰越强、传输距离越远那么失真越严重,传输媒体质量越好,失真越不严重
信道带宽:指的是信道能通过的最高频率与最低频率之差,频率过高不能通过的原因是因为会产生码间串扰现象,指的是接收端收到的信号失去了码元间清晰界定的现象
编码与调制
信道上传输的信号有基带信号和宽带信号。在数字信道上传输就叫基带传输,其信号被称作基带信号;在模拟信道上传输就叫宽带传输,其信号被称为模拟信号。近距离选择基带传输,远距离选择宽带传输,因为宽带传输的频段比较高,损耗较小。


数字数据->数字信号



- 非归零编码
高电频为1,低电频为0 - 曼彻斯特编码
将一个码元分为两个间隔,前高后低为1,前低后高为0 - 差分曼彻斯特编码
同1异0 - 归零编码
信号电频在一个码元内都要恢复到0 - 反向不归零编码
信号电频翻转表示0,不变表示1 - 4B/5B编码
比特流插入额外的比特来打破一连串的0或者1,用5个比特来编码4个比特的数据
数字数据->模拟信号
若基带信号如下,那么三种调制技术可分别将数字信号转化为如下形式。


- 调幅ASK
- 调频FSK
- 调相PSK
模拟数据->数字信号
用PCM技术,分为三个步骤。
- 抽样:对模拟信号周期性扫描,把连续的信号变为时间上离散的信号
- 量化:把抽样采取的电频幅值转化为对应的数字值,并取整数
- 编码:将量化结果转化为对应的二进制编码
模拟数据->模拟信号
该种情况主要为了应对远距离传输,若距离很远,模拟信号会失真,那么为了减少失真,一般会将模拟信号转化为电频更高的模拟信号以减少失真
奈氏准则和香农定理
奈氏准则:在理想低通(无噪声,带宽受限)条件下,为了避免码间串扰,极限码元传输速率为2 W Baud,w是信道带宽,单位是hz。此处的奈氏准则只规定了码元传输速率,没有规定信息传输速率。
香农定理:在带宽受限且有噪声的信道中,为了不产生误差,信息的传输速率有上限值
信道的极限传输速率=Wlog2(1+S/N),其中S/N可以由信噪比计算得出
信噪比(db)=10log10(S/N)
物理传输介质
- 导向性传输介质
- 双绞线,分为屏蔽双绞线和非屏蔽双绞线
- 同轴电缆,抗干扰性比双绞线强
- 光纤,带宽和通信量大,分为多模光纤和单模光纤,单模光纤适合远距离传输,多模光纤适合近距离传输
- 非导向性传输介质
- 无线电波
- 微波
- 红外线、激光
物理层设备
- 中继器:对信号进行复原和再生,对衰减的信号进行放大,保持与原数据相同,以增加信号的传输距离,中继器两端的协议必须相同
- 集线器:是一种多端口的中继器,是一个共享式的中继器。作用也是对信号进行还原和再生
三. 数据链路层
基本概念
数据链路层负责通过一条链路从一个结点向另一个直接相连的节点传送数据报
链路:网络中两个结点之间的物理通道,链路的传输介质主要有双绞线、光纤、微波。分为有线链路和无线链路。
数据链路:网络中两个结点之间的逻辑通道,把实现控制数据传输协议的硬件和软件加到链路上就构成了数据链路。
帧:链路层的协议数据单元,封装网络层数据报
基本功能
- 为网络层提供服务,无确认无连接服务,有确认无连接的服务,有确认面向连接服务
- 链路管理,即连接的建立、维持、释放
- 组帧,就是在一端数据的前后添加首部和尾部
帧同步:就是接收方能从接收到的比特流中区分出帧的起始位置 - 流量控制
- 差错控制
组帧
- 字节计数法:帧首部使用一个计数字段来标明帧内的字符数
- 字符填充法:在帧的首部添加SOH,尾部添加EOT。为了防止中间数据部分也出现这些内容,就需要让发送端在数据中出现SOH、EOT、ESC的部分添加转义字符ESC,那么接收方只需要去掉转义字符即可
- 零比特填充法:首部和尾部的标识符相同,都为0,为了防止数据中也有这个标识符,那么发送方需要用‘5+1’法,每遇到5个1就在后面填充一个0,接收方则对应去掉0即可。
- 违规编码法:用高-高,低-低来定义帧的起始和结束
以上四种常用的是后两种。
差错控制
差错来源:
差错分类
位错:比特位出错,0变成1,1变成0。
帧错:丢失帧,重复帧,失序帧
差错控制(该层主要控制位错):
- 检错编码:奇偶校验码、循环冗余码CRC
- 纠错编码:海明码
流量控制
如果发送方发送速度大于接收方的接受速度,那么就需要进行流量控制。
链路层的流量控制是点对点的,如果接收方收不下就不回复确认。传输层的流量控制是接收方给发送端一个窗口公告。
流量控制方法
- 停止等待协议
等接收端给发送端恢复确认之后发送端才可以接着发送,若发送方发送的数据在发送的过程中丢失,那就收不到接收方的确认,因此就需要在发送方设置一个定时器,如果接收方在一定时间内没有回复,那么就发下一个。该计时器的重传时间应该比帧传输的平均RTT更长一些。信道利用率很低。 - 后退N帧协议(GBN协议):窗口最大值为2n-1,n表示一帧采用几个比特编号
- 选择重传协议(SR协议),窗口的最大值为2n-1,n表示一帧采用几个比特编号
传输数据的两种链路
点对点链路、广播式链路



版权声明:本文内容由互联网用户自发贡献,该文观点仅代表作者本人。本站仅提供信息存储空间服务,不拥有所有权,不承担相关法律责任。如发现本站有涉嫌侵权/违法违规的内容,请联系我们,一经查实,本站将立刻删除。
如需转载请保留出处:https://51itzy.com/kjqy/32986.html