加入星球下资料,加入通讯录扩人脉!请扫上方二维码👆👆
目前ePlex平台(现已融入罗氏诊断的Cobas ePlex System)以其先进的分子检测技术为核心,实现了对多种呼吸道和血流感染病原体的高效、准确检测。它采用微流控技术和电化学传感原理,通过独特的试剂设计和操作流程,确保了检测结果的特异性和灵敏度。这意味着,无论面对何种复杂的病原体,ePlex都能提供可靠的诊断依据。今天,让我们一起深入解析这款分子诊断领域的明星产品!
01
【产品简介】

02
【芯片解析】
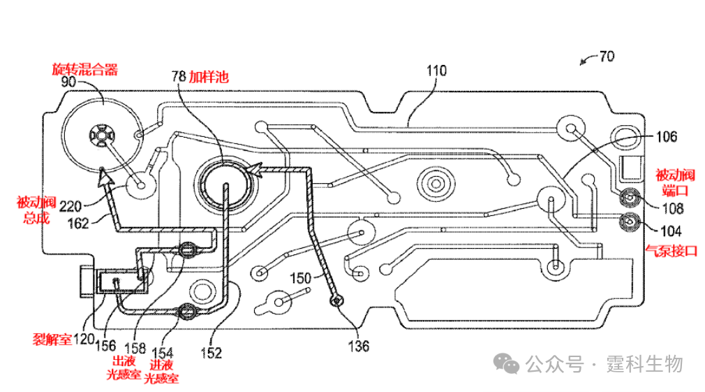
一、芯片结构
ePlex检测盒体由4大部分组成:①注塑成型的上、下外壳,②预封装试剂的液囊,③样本制备模块,④反应模块。液囊内预封装有样本前处理必备的试剂,包括裂解缓冲液、结合缓冲液、洗涤缓冲液、油相溶液、洗脱液等。样本制备模块由一层带有微通道结构的基板和上、下密封层组合而成。模块内部整合了样本混合器、阀结构、泵接口等用于样本粉碎混合和流体控制的结构,配合由外部挤压而释放的液囊中的试剂,可以实现在检测盒中全自动完成样本(液体、固体)纯化的所有流程。样本制备模块底部与反应模块相连通,在样本处理完成后由气泵驱动进入反应模块。通过使用EWOD电润湿技术对进入反应模块的流体进行操控(流体处理板),使其在反应模块中与预封装的冻干试剂进行反应,从而完成核酸再提纯和扩增检测。
二、流体解析
Step1:
由人工加入约200μL的样品,样品可以是液体或固体。液体样本可能包括血液、血清、血浆、尿液、唾液、脑脊液、淋巴液、汗液、精液或上皮样本,例如已添加裂解缓冲液以重悬细胞的脸颊、鼻咽、肛门或阴道拭子。固体样品,如粪便或组织样品(如肿瘤活检),通常需要在缓冲液中重悬和稀释,例如Cary Blair转运培养基。盖紧加样池上盖。
Step2:
①由设备内机械结构挤压裂解液液囊,使其在挤压压力下经通道进入加样池。
②由气泵向反应池中加压,使反应池中的样本和裂解液混合物进入裂解室。

③在液体流过进液光感室时,光感器触发,开启裂解室中的混合搅拌电机;在裂解室中预埋有微珠,微体会促进流体的充分混合,之后液体流入旋转混合器(珠体被过滤留下);当出液光感室检测到流体末端时,搅拌电机关闭。
Step3:
①完成Step2后,已混合的样本和裂解液完全进入旋转混合器后,气泵关闭。
②由设备内机械结构压破捕获磁珠液囊,磁珠在挤压作用下进入旋转混合器中;同时,结合缓冲液液囊也被挤破,并在挤压作用下进入旋转混合器中。
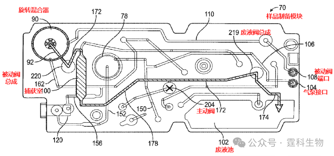
Step4:
由设备内机械结构压破油相溶液液囊,在挤压的作用下通过流道直接流出样品制备模块,流入反应模块中顶板和流体处理板所构成的腔室中。
Step5:
由设备内机械结构压破洗脱缓冲液液囊,在挤压的作用下通过流道直接流出样品制备模块,流入反应模块的洗脱缓冲室中,在这里将会对在制备模块中捕获的核酸或其他目标分析物中的底物进行洗脱。
Step6:
①主动阀由外部机械结构进行挤压关闭,然后气泵开启,对旋转混合器进行加压。
②同时,被动阀端口保持关闭状态,以保证旋转混合器中压力可以持续累积,直到可以冲开被动阀组件;废液阀总成保持开启状态。
③当被动阀总成被冲开后,旋转混合器中的混合液体(样本、裂解缓冲液、结合缓冲液、捕获磁珠)被气压推入捕获室。
④此时,设备中对应捕获室的磁体开始工作,将流经捕获室的混合液体中已捕获目标分析物的捕获磁珠吸附在捕获室中,其余流体则流入废液池。
Step7:
①由设备内机械结构压破洗涤缓冲液液囊,此时主动阀保持关闭,废液阀保持开启状态,在挤压的作用下大约一半的洗涤缓冲液流入捕获室。
②流入捕获室的洗涤缓冲液会冲洗捕获磁珠表面未结合的样本和碎片,并将其带入废液池。
Step7:
①当洗涤完成后,废液阀总成关闭;被动阀总成保持关闭,主动阀总成由外部机械结构打开。
②由设备内机械结构继续挤压洗涤缓冲液液囊,使剩余的一半洗涤液进入捕获室。
③此时撤掉捕获室外部磁体,使捕获室中的磁珠随洗涤缓冲液的流动流出样品制备模块,进入反应模块的样品室中。
至此,样本在样本制备模块中的处理完成。
之后在反应模块中,通过电润湿(EWOD)法对样本进一步处理,扩增后进行最终的检测。具体步骤见下图与视频。
ePlex数字电润湿运行视频
03
【小编点评】
一、产品优势

①检测范围广,指标全面:涵盖约95%已知血液病原菌感染以及20种以上呼吸道病毒和真菌,且可根据需求在技术平台上开发新的检测卡盒以应对不同病原菌的检测。
②使用简单,检测迅速:仅需耗费不到1分钟进行加样,剩余检测流程全由设备自动完成,并在90分钟内出结果,仅为传统检测耗时的约1/20。
③Order-to-Report全流程覆盖:ePlex平台高度信息化,可以接入LIS系统(实验室信息管理系统)并拥有双向通讯的能力,覆盖并简化了从医务人员下检查单至出具检查报告的流程。
二、技术难度或门槛
①检测卡盒的零部件较多,零部件生产涉及多种工艺,卡盒整体的封装工艺较为复杂;检测平台的机械及光电机构与卡盒间的配合较为复杂,如:对液囊的机械挤压的控制,对流体的光学侦测、泵阀的开闭等。
②使用的电化学检测技术,是使用标记有二茂铁(还原剂)的互补病原体特异性信号探针,来检测目标病原体的扩增序列。然后将杂交的分子暴露于与固相结合的另一个序列特异性的探针,即金电极。当两个分子结合后,二茂铁就紧贴在金电极上,在那里可以发生电子转移,即可测量到电信号的改变。该技术为GenMark的核心技术,且受到专利保护。
三、技术平台的应用展望
Cobas ePlex 系统以优化患者检测体验为根本目的,以电化学检测技术和微流控技术为手段,实现了对95%以上的血液病原菌和20种以上呼吸道病原菌的检测,且依托平台优势检测菜单随时间推移与应用场景可逐渐扩展。适合大型医院、医疗机构作为相应感染病症状/症候群的常备诊疗手段,也可在群体性突发事件/大流行病(如 COVID-19)中发挥其操作简单、检测高效的优势。
罗氏通过收购GenMark将该平台产品纳入其麾下,扩充了其分子诊断版图。该平台也将持续发展,以应对更多病症的快速检测。
注:
1. 参考专利:US
2. 图片和视频来源:Roche Diagnostics官网和其他互联网***息;
--精彩视频推荐–
—END—
版权声明:本文内容由互联网用户自发贡献,该文观点仅代表作者本人。本站仅提供信息存储空间服务,不拥有所有权,不承担相关法律责任。如发现本站有涉嫌侵权/违法违规的内容,请联系我们,一经查实,本站将立刻删除。
如需转载请保留出处:https://51itzy.com/kjqy/179353.html