这种定时器你会用吗?
在西门子S7-200SMARTCPU中分别有接通延时定时器TON、保持型接通延时定时器TONR、关断延时定时器TOF三种。但由于在STEP 7 Micro/WIN SMART里定时器的调用总数限制在256,并且S7-200SMART子程序多次调用时不能使用定时器;因此可以使用开始间隔时间指令(BGN_ITIME)和计算间隔时间指令CAL_ITIME两条指令,可实现对位信号的计时功能;并且可以在子程序中进行多次调用。
2、认识时间间隔定时器

▲ 图1:时间间隔定时器(左侧为开始间隔时间指令,右侧为计算间隔时间指令)
①开始间隔时间指令:当指令EN端条件满足时(需要使用沿脉冲信号)捕捉EN接通的时刻,读取内置1 毫秒计数器的当前值,并将该值存储在OUT 中;其数据类型为DWORD。
②计算间隔时间指令:计算当前时间与IN 端地址中提供的时间差,然后将差值存储在OUT 中;其数据类型亦为DWORD。双字毫秒值的最大计时间隔为
或49.7 天。根据BGN_ITIM 指令的执行时间,CAL_CITIM指令会自动处理在最大间隔内发生的一毫秒定时器翻转。
当程序段1中BGN_ITIM指令的EN导通一个扫描周期时,系统将会读取该扫描周期内接通的具体时间,存放在OUT地址VD0中。同时程序段2中CAL_CITIM指令会计算OUT中地址VD4和IN端地址VD0的差值,从而得到EN端接通的实际时间,并且该时间单位为毫秒。

▲ 图2:LAD控制图

1、打开STEP 7 Micro/WIN SMART软件创建一个SBR_0的子程序,在子程序变量表中,建立变量,如图3所示。

▲ 图3:子程序变量表
2、在子程序程序编辑区调用BGN_ITIM 指令和CAL_CITIM 指令,如图4所示。注意,在子程序中不能使用沿脉冲信号,因此需要在MAIN主程序中使用沿脉冲信号。

▲ 图4:子程序
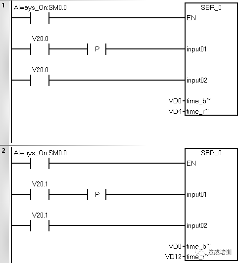
3、选择MAIN主程序,打开项目树中的“调用子程序”将建好的子程序SBR_0拖至MAIN主程序中,并给各形式参数分配实参,并且可以实现多次调用;执行不同的条件,便可以实现对应的时间记录如图5所示。

▲ 图5:MAIN主程序
该程序实现的功能是:
程序段1:V20.0从接通到断开这一过程的计时,计时结果(单位:毫秒)在VD4中查看。
程序段2:V20.1从接通到断开这一过程的计时,计时结果(单位:毫秒)在VD12中查看。

结语
时间间隔指令实际应用比较少,通过子程序进行时间的记录,采用时间间隔指令是其中一种方法,在使用该方法时,需要注意两点:一是在BGN_ITIM指令的EN端需要使用脉脉冲信号触发,而在子程序中又不能使用沿脉冲信号,因此在主程序对该形式参数赋实参时,务必加沿脉冲指令,否则CAL_CITIM指令OUT将没有值。二是CAL_CITIM指令OUT地址为DWORD数据类型,并且单位为毫秒,需要进行二次运算后才是我们实际需要的运行时间。
2021年电工初级考试题库完整版(内含答案)
变频器故障查询检修难?只需一键即可!
一键即可刷遍所有电气考题,这个神器你还没有拥有吗?
五大电气制图软件(CAD、Eplan、CADe_simu…),你pick那个?
最新电气版CAD绘图软件,附超详细安装教程!
最新电气绘图软件EPLAN,附超详细安装教程!
初学者使用S7-200 SAMRT编程软件常见问题(附软件下载)
超全电气计算EXCEL表格,自动生成!电气计算不求人!
蓝牙耳机、电工/PLC入门书籍任性送?快来领取你的电气礼物!
PLC编程基本功:梯形图与控制线路(附1164个三菱PLC实用案例)
还看不懂电气图?电工识图基础、仿真软件拿走,理论实操快速上手!
12门永久免费电工视频、10GB软件/电子书资料、30天免费电工直播课免费送啦!

版权声明:本文内容由互联网用户自发贡献,该文观点仅代表作者本人。本站仅提供信息存储空间服务,不拥有所有权,不承担相关法律责任。如发现本站有涉嫌侵权/违法违规的内容,请联系我们,一经查实,本站将立刻删除。
如需转载请保留出处:https://51itzy.com/kjqy/171781.html